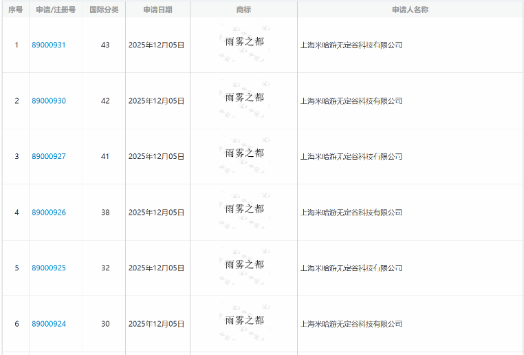
米哈游旗下UE5旗舰级新作《Varsapura》中文名称近日曝光,相关商标 “雨雾之都” 已由米哈游子公司提交注册申请,目前处于商标审查阶段。

《Varsapura》是米哈游投入重金打造的全新IP,由蔡浩宇亲自负责,研发团队横跨全球多个工作室。游戏采用虚幻引擎5开发,以亚洲都市为灵感构建独特世界观,此前公开的实机演示展示了高品质画面表现与开放世界探索要素,引发广泛关注。
随着中文名商标进入注册流程,《Varsapura》或将在不久后公布更多信息,包括首测时间与核心玩法细节。你对本作有何期待?

米哈游旗下UE5旗舰级新作《Varsapura》中文名称近日曝光,相关商标“雨雾之都”已由米哈游子公司提交注册申请,目前处于商标审查阶段。
[查看全文]
重力英雄游戏是由PQube和studicasolution联合发布的一款2d像素动作射击游戏,预计将于2021年3月31日发售,届时玩家可登陆Steam、PS4、XboxOne和Switch平台体验畅
[查看全文]
航海与家园手游中有很多的职业,不同的职业也有不同的玩法,当然都是非常的吸引人的,下面小编就来给大家介绍一下航海与家园手游职业,赶紧一起来看看吧! 航海与家园职业作为航海热爱者们心中关注的焦点,《航海与
[查看全文]
全面战争传奇特洛伊很多的小伙伴已经非常的期待了,但是迟迟没有发售,那么到底什么时候大家才可以玩到呢,赶紧跟随小编来看看全面战争传奇特洛伊的具体发售时间吧! 特洛伊什么时候出 全面战争传奇特洛伊发售时间
[查看全文]
阴阳师三周年马上就要来到了,这次三周年当然也会有一波大的福利了,有新出的ssr还有免费领取的ssr噢,诚意和福利可谓是非常大了,赶紧来看看阴阳师三周年活动吧! 三周年活动第一就是我们的新式神啦,每一次周年庆
[查看全文]